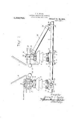
Patent information:
| Patent: | Utility 1,356,720 |
| Patented: | October 26, 1920 |
| Applied: | June 17, 1918 |
| Title: | Lightning Arrester and Mounting |
| Description: | Mounting and lightning arrester atop Three E type multipart insulators |
| Category: | Multipart |
| Assigned to: | Electrical Engineers Equipment Co. |
Patentee Information:
Class and subclass information:
| Class: | 361 | ELECTRICITY: ELECTRICAL SYSTEMS AND DEVICES |
| Subclass: | 137,313 | |
Known specimens:
| Number: |  |
|
Drawings:
Page 1 |
Page 2 |
|